项目

一般

简介

错误 #6748

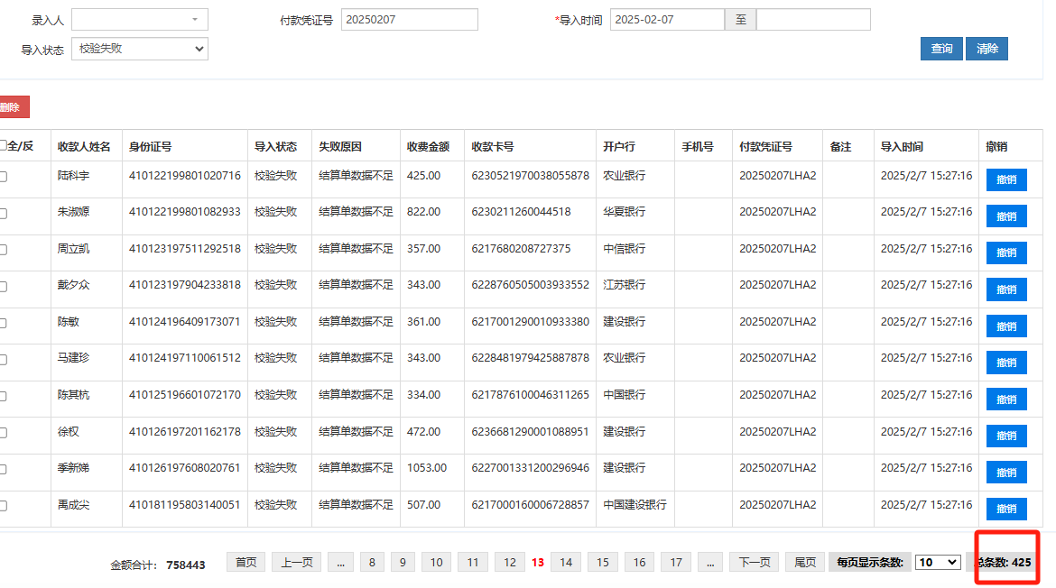
【付款清单】结算单及金额都大于需支付的,报错提示【结算单数据不足】

薛 彩月10 个月 之前添加. 更新于 10 个月 之前.

状态:
开发完成
优先级:
立刻
指派给:
开始日期:
2025-02-07
计划完成日期:
% 完成:

0%

预期时间:

描述

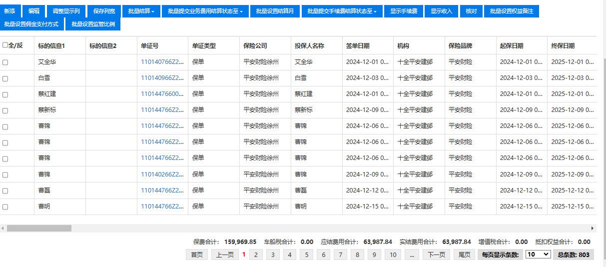
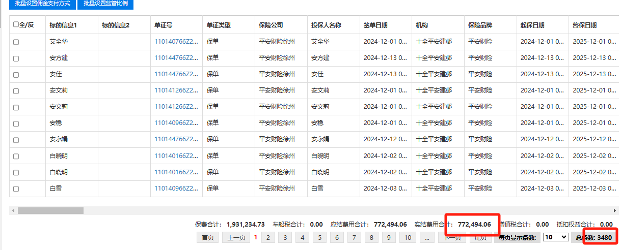
新建状态结算单有3480条且金额大于需要支付的3102条(见附件1、2)
提示【结算单数据不足】有425条失败,但新建状态结算单剩余800多条(见附件3、4)
原付款凭证号:20241224
需支付的付款凭证号模糊查询:20250207
机构:十全平安建邺

1.png (64.3 KB) 1.png 薛 彩月, 2025-02-07 15:48
2.png (75 KB) 2.png 薛 彩月, 2025-02-07 15:48
3.jpg (79.2 KB) 3.jpg 薛 彩月, 2025-02-07 15:48
4.png (71.5 KB) 4.png 薛 彩月, 2025-02-07 15:48

历史记录

#1陈 文杰 更新于 10 个月 之前

  • 指派给陈 文杰 变更为 王 东林

#2王 东林 更新于 10 个月 之前

  • 状态待开发 变更为 开发完成

导出 Atom PDF