⚲
项目
一般
简介
登录
注册
主页
项目
帮助
搜索
:
易保通
所有的项目
易保通
概述
活动
问题
耗时
甘特图
日历
新闻
文档
Wiki
文件
问题
查看所有问题
摘要
错误 #6743
【付款清单】导入成功,流水生成只一部分
由
薛 彩月
在
11 个月
之前添加. 更新于
10 个月
之前.
状态:
开发完成
优先级:
立刻
指派给:
王 东林
开始日期:
2025-01-24
计划完成日期:
% 完成:
0%
预期时间:
描述
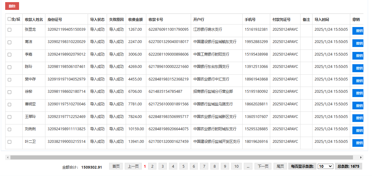
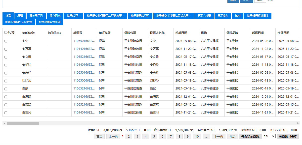
图1显示导入成功,图2流水只生成一半,图3按照凭证号能查到这些单子,总金额是对的
1.png
(78.5 KB)
1.png
薛 彩月, 2025-01-24 16:04
2.png
(84.3 KB)
2.png
薛 彩月, 2025-01-24 16:04
3.png
(72.5 KB)
3.png
薛 彩月, 2025-01-24 16:04
历史记录
#1
由
陈 文杰
更新于
11 个月
之前
指派给
从
陈 文杰
变更为
王 东林
#2
由
王 东林
更新于
10 个月
之前
状态
从
待开发
变更为
开发完成
导出
Atom
PDF
载入中...