项目

一般

简介

错误 #5350

【江苏统一优化】结算单加入是否投保座位险

周 方盼超过 4 年 之前添加. 更新于 超过 4 年 之前.

状态:
开发完成
优先级:
紧急
指派给:
开始日期:
2021-02-23
计划完成日期:
% 完成:

0%

预期时间:

描述

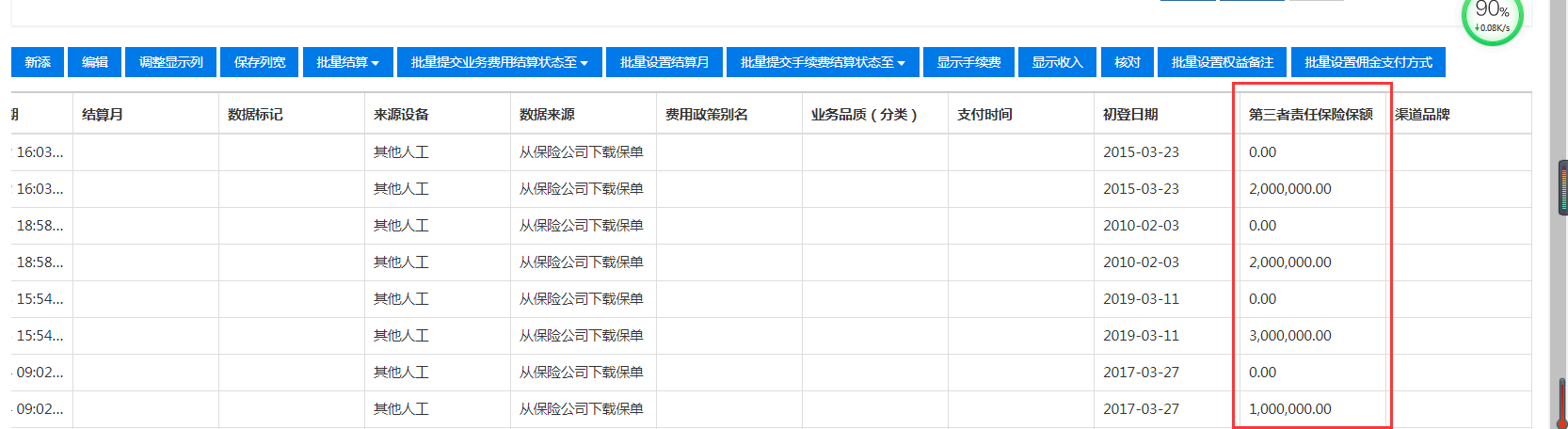
结算单中加入是否投保座位险标识,并在列表和详情页面显示并可导出。
同“投保车损”标志一样显示。

座位险显示.png (98.3 KB) 座位险显示.png 周 方盼, 2021-02-24 11:22
座位险显示2.png (69.5 KB) 座位险显示2.png 周 方盼, 2021-02-24 11:22

历史记录

#1周 方盼 更新于 超过 4 年 之前

结合现在保险公司跟财务的对帐,需要导出的数据列,有对应的“座位险”,在保险公司的系统中,对应的名称分别是“机动车车上人员责任保险-司机”和“机动车车上人员责任保险-乘客”,就像“第三者责任保险保额”一样,能导出来,一目了然的看到,是否投保,投保的额度是多少。 详细见附件。

#2 由 宋 姣姣 更新于 超过 4 年 之前

  • 指派给宋 姣姣 变更为 周 方盼

#3周 方盼 更新于 超过 4 年 之前

  • 状态待开发 变更为 开发完成

导出 Atom PDF