项目

一般

简介

错误 #3213

错误 #3046: 【自检机构】华泰下载投保单系统提示“未将对象应用设置到对象的实例”

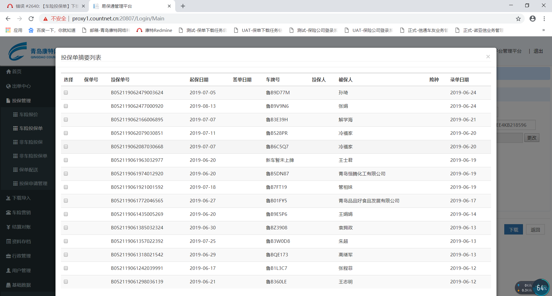
【车险投保单】华泰投保单下载,输入车架号下载投保单,检测的投保单列表不对,见附图

由 匿名用户 在 超过 6 年 之前添加. 更新于 超过 6 年 之前.

状态:
已解决
优先级:
普通
指派给:
-
开始日期:
2019-06-24
计划完成日期:
2019-06-25
% 完成:

100%

预期时间:
8.00 小时

描述

测试车架号:4JGDF6EE4KB218596

应该只检测这一个车的投保单,结果检测出很多车的投保单

华泰投保单下载.png (169 KB) 华泰投保单下载.png 匿名用户, 2019-06-24 10:04

历史记录

#1 由 匿名用户 更新于 超过 6 年 之前

  • 计划完成日期 被设置为 2019-06-25
  • 状态新建 变更为 开发中
  • 预期时间 被设置为 8.00 小时

#2 由 匿名用户 更新于 超过 6 年 之前

  • 状态开发中 变更为 已拒绝
  • % 完成0 变更为 100

原因:保险公司系统查询就没有根据VIN查询的筛选条件,所以使用VIN查询,相当于在保险公司,什么筛选条件都不选,直接点击查询按钮。
返回的数据为有交强险或者商业险的数据。

#3 由 匿名用户 更新于 超过 6 年 之前

  • 状态已拒绝 变更为 重新打开

#4 由 匿名用户 更新于 超过 6 年 之前

  • 状态重新打开 变更为 反馈

原因:已在报价器中限制,如果华泰使用VIN下载投保单,并且没有填写车牌号,将提示错误信息:“华泰不能使用VIN下载投保单”

#5 由 匿名用户 更新于 超过 6 年 之前

  • 状态反馈 变更为 已解决

测试环境验证通过

导出 Atom PDF