项目

一般

简介

错误 #2209

【易保通】基础数据—保险品牌,保存可用机构功能无法保存

岳 香超过 6 年 之前添加. 更新于 超过 6 年 之前.

状态:
已关闭
优先级:
指派给:
-
开始日期:
2019-03-12
计划完成日期:
% 完成:

100%

预期时间:

描述

提出人:岳香
关键信息:基础数据-保险品牌
登录地址:http://mp.ins.countnet.cn/Login/Index

内容
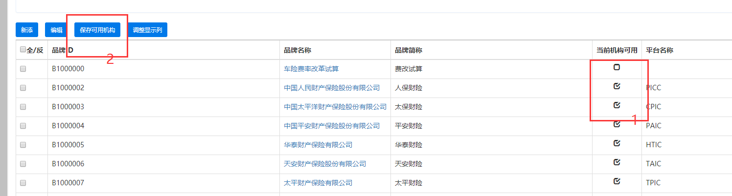
登录智择通网页版管理系统,机构添加保险公司的过程中,勾选上保险公司后点击【保存可用保险品牌】时,系统会自动将选择中的√清空,最后查询时系统也未能保存保险品牌。导致整个保险品牌功能无法使用。

点击保存.png (75.9 KB) 点击保存.png 岳 香, 2019-03-12 15:51
勾选.png (74 KB) 勾选.png 岳 香, 2019-03-12 15:51
20190326103341.png (33.1 KB) 20190326103341.png 匿名用户, 2019-03-26 10:34

历史记录

#1 由 匿名用户 更新于 超过 6 年 之前

操作问题:是否可用需要勾选【当前机构可用】后,再点击【保存可用保险品牌】;如图

#2岳 香 更新于 超过 6 年 之前

  • 状态已拒绝 变更为 已关闭
  • % 完成0 变更为 100

导出 Atom PDF